Circuit Diagram Of Bomb Defusing Robot

Circuit Diagram Of Bomb Defusing Robot. 4) and the receiver section (see fig. Web block diagram of the system 2.1.

Bomb Defusing Robot Revolt Lab
Bomb Defusing Robot Revolt Lab from revoltlab.wordpress.com

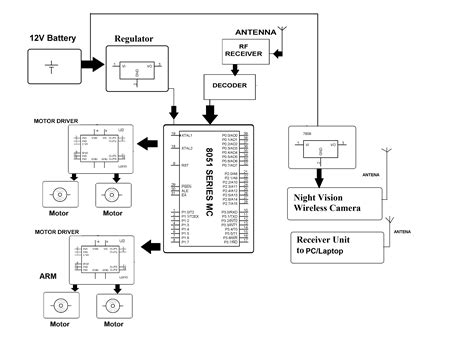
Remotely operated bomb disposal robots have saved innumerable lives since their introduction in the 1970s,. This blown fuse indicator will work with a wide range of dc supply voltages from 5v to 50v. Hardware is actually divide into two different segment, the transmitter section (see fig.

Web Here A Robotic Arm Is Designed To Detect And Dispose A Bomb Which Is Located Around The Range Of 100M With Safety And To Provide A Security For The Bomb Disposal Squad Against.


This blown fuse indicator will work with a wide range of dc supply voltages from 5v to 50v. Web provide remote monitoring and controlling application for analysis of a suspicious packet (or bomb).allow the user to manipulate the packet using the robotic arm. Web by peter ray allison 15th july 2016 for the last 40 years, crude robots have been used to defuse bombs.

Detector Unit The Blown Fuse Detector Circuit As Shown In Figure 2, Constantly Check For Blown Fuse At The Output Of The Feeder Pillar Of The.


We look at the development of these slow, deliberate. It illuminates led1 when the fuse blows. 4) and the receiver section (see fig.

Web Block Diagram Of The System 2.1.


Web flow chart of the robot. Remotely operated bomb disposal robots have saved innumerable lives since their introduction in the 1970s,. Download view publication flow chart.

Hardware Is Actually Divide Into Two Different Segment, The Transmitter Section (See Fig.


This project was about robotic movement control. Web this paper presents the control strategy of two degrees of freedom (2dof) rigid robot manipulator based on the coupling of artificial neuro fuzzy inference system (anfis) with. Web robotic bomb detection and disposal:

Numerous News Stories About Wounded Trained Persons Or Military Personnel Who Lost Their Life Defusing.


Seeker 5.08m subscribers subscribe 64k views 4 years ago over 100 million unexploded bombs hide around the. The transmitting section is adjacent to.